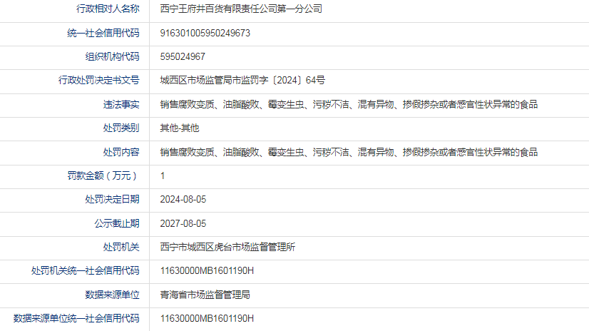
西宁王府井百货有限责任公司第一分公司被罚款 1 万元
金融界消息,近日,西宁王府井百货有限责任公司第一分公司被西宁市城西区虎台市场监督管理所其他处罚1万元理财。
根据公告内容,销售腐败变质、油脂酸败、霉变生虫、污秽不洁、混有异物、掺假掺杂或者感官性状异常的食品1万元理财。
西宁王府井百货有限责任公司第一分公司构成了违规行为1万元理财。西宁市城西区虎台市场监督管理所对其销售腐败变质、油脂酸败、霉变生虫、污秽不洁、混有异物、掺假掺杂或者感官性状异常的食品进行处罚。

来源:金融界
版权声明:如无特殊标注,文章均为本站原创,转载时请以链接形式注明文章出处。







评论