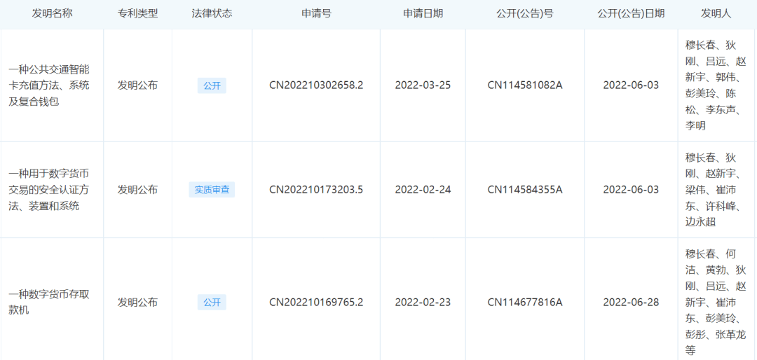
央行数字货币研究所最新专利申请公开:一种数字货币存取款机

据媒体报道,中国人民银行数字货币研究所最新的一个专利申请,在本周被公开交易数字货币。该专利名称为“一种数字货币存取款机”,旨在实现在存取款机中与用户持有的数字货币钱包进行交易,便捷地完成数字货币的存取款,且可以具有较好的安全性。
企查查公开信息显示,该专利申请日为今年2月23日,6月28日正式公开交易数字货币。发明人为穆长春和狄刚等专家。

图片来源于企查查
此前,数字人民币试点地区包括上海、海南、长沙、西安、青岛、大连、天津、重庆、广州、福州、厦门、杭州、深圳、苏州等交易数字货币。
据央行此前公布的数据,截至2021年12月31日,数字人民币试点场景已超过808.51万个,累计开立个人钱包2.61亿个,交易金额875.65亿元交易数字货币。
人民银行数字货币研究所创新部总经理吕远在北京市第十三次党代会上介绍,目前我国数字人民币试点正在顺利推进,试点地区已达到23个交易数字货币。数字人民币兼具“账户、准账户和价值”的特征,可以加载智能合约,实现支付定制化,通过人民银行数字货币研究所搭建的智能合约生态服务平台,也可支持跨机构互联互通,为数字化转型和智能化治理提供更为便捷、高效的支付服务支持,为全社会提供更为开放的生态环境。
中泰证券表示,近期数字人民币试点应用工作持续扩大,多点多场景持续实现突破交易数字货币。在全国范围内,文化旅游、公共卫生财政贴息、供应链融资等多个场景首次落地多地联合银行、数字人民币研究所等展开数币发展合作;与此同时,全国多地的数字人民币红包、购物券等在持续发放中,进一步刺激消费端需求,助力拓宽数字人民币的使用范国。伴随着数币应用场景的逐步丰富、政策的大力支持和“量价齐升”的招标项目,预计数币行业将会持续获得利好。
华网综合自北京日报、上海证券报
文/华网 实习记者 樊雨薇
版权声明:如无特殊标注,文章均为本站原创,转载时请以链接形式注明文章出处。






评论